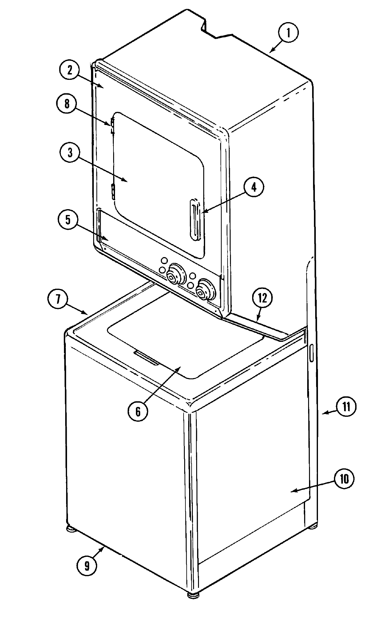
LSE2704W 06 – FRONTadmin2025-04-26T10:22:52+00:00LSE2704W 06 – FRONT ProductsPositionProduct1MAY 3080552MAY 330011913MAY 3144754MAY 3144764MAY 3154255MAY 330014266MAY 220010807MAY 220010648MAY 330012309MAY 20720510MAY 2200106511MAY Y30611012MAY 3300105013MAY 1600032613MAY 33001393