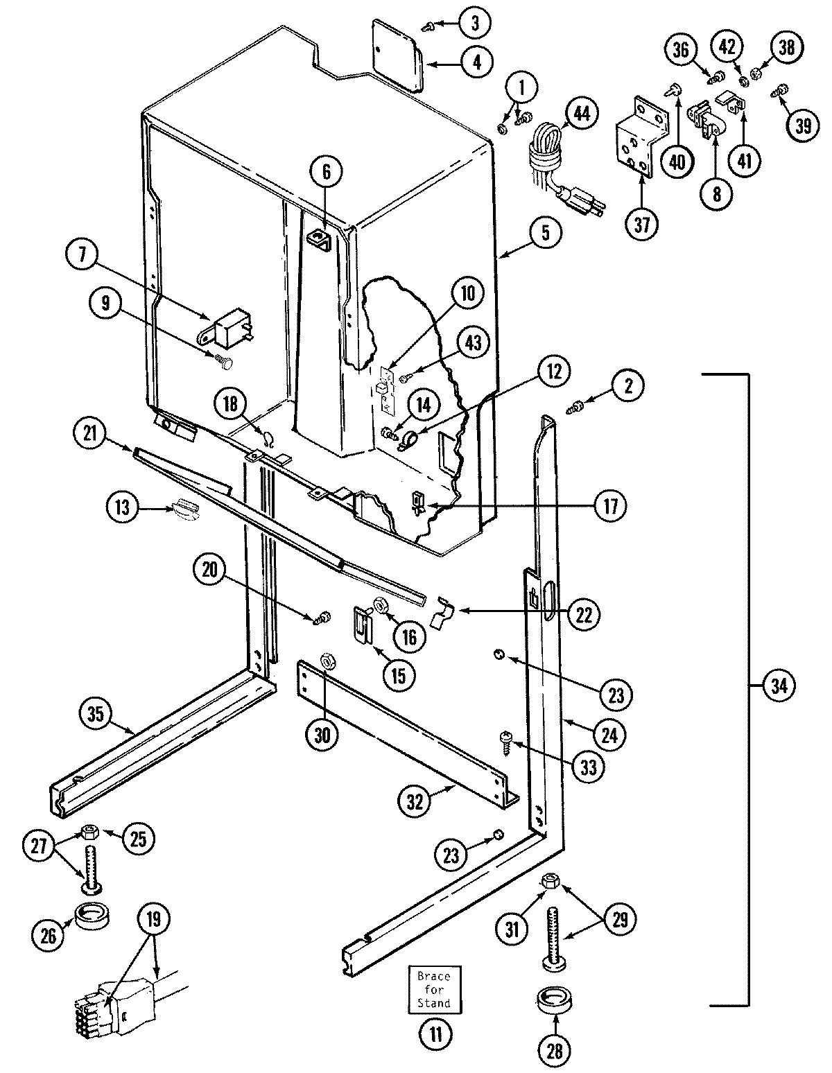
LSE7804ACE 03 – CABINET-DRYERadmin2025-04-26T10:22:53+00:00LSE7804ACE 03 – CABINET-DRYER ProductsPositionProduct1MAY 3038462MAY 3146633MAY Y3135614MAY 3144705MAY 3080556MAY 3125487MAY Y3082058PART NOT USED9WPW10139210 Whirlpool Screw10WP33001212 Whirlpool Electronic Control Board11MAY 30612812MAY 31526413MAY 2200101015MAY 31448916MAY 21487217MAY Y31326218MAY 31547119MAY 20877219MAY 3300136819MAY 3300104219MAY 3300155319MAY 2200142720MAY 31447721MAY 3300113021MAY 3300105022MAY 31448223MAY 31449824MAY 3300129325WP62739 Whirlpool Nut26WPY314137 Whirlpool Rubber Foot27W10176519 Whirlpool Leveling Feet28WP210684 Whirlpool Dishwasher Leveling Leg Pad29LEG, ADJUSTABLE (W/NUT)---S30Y052721 Whirlpool Nut31WP210385 Whirlpool Lock Nut32MAY 31449933MAY 21435434MAY Y30611035MAY 3300129536SCREW, No.10-24 X 3/4 INCH-----O37PART NOT USED38WP112432 Whirlpool Nut Assembly39W10850756 Whirlpool Screw40MAY Y31063241PART NOT USED42WPY311270 Whirlpool Washer TE43WP3177991 Whirlpool Screw