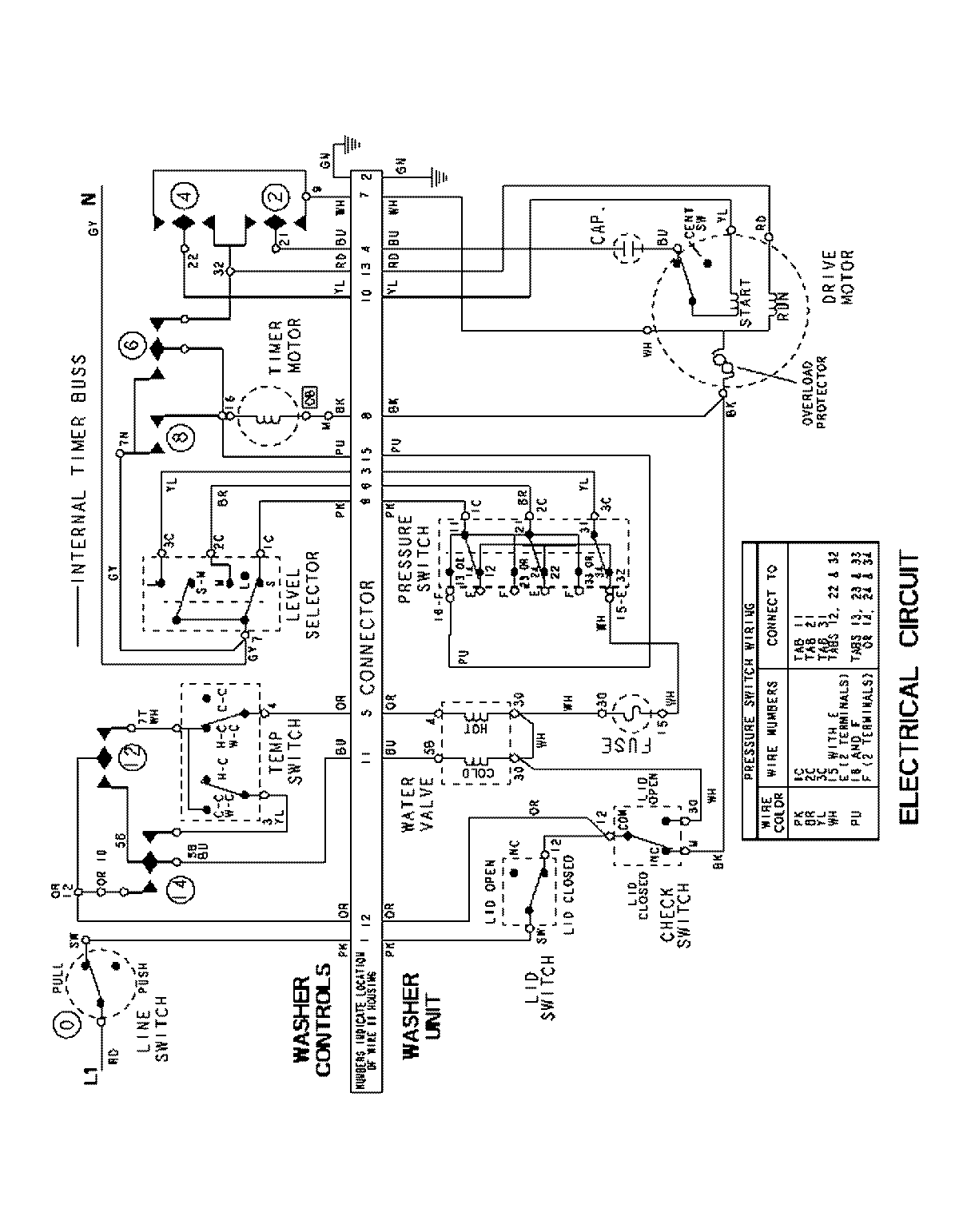
LSE7804ACM 14 – WIRING INFORMATIONadmin2025-04-26T10:25:37+00:00LSE7804ACM 14 – WIRING INFORMATION ProductsPositionProductNIMAY 15003237