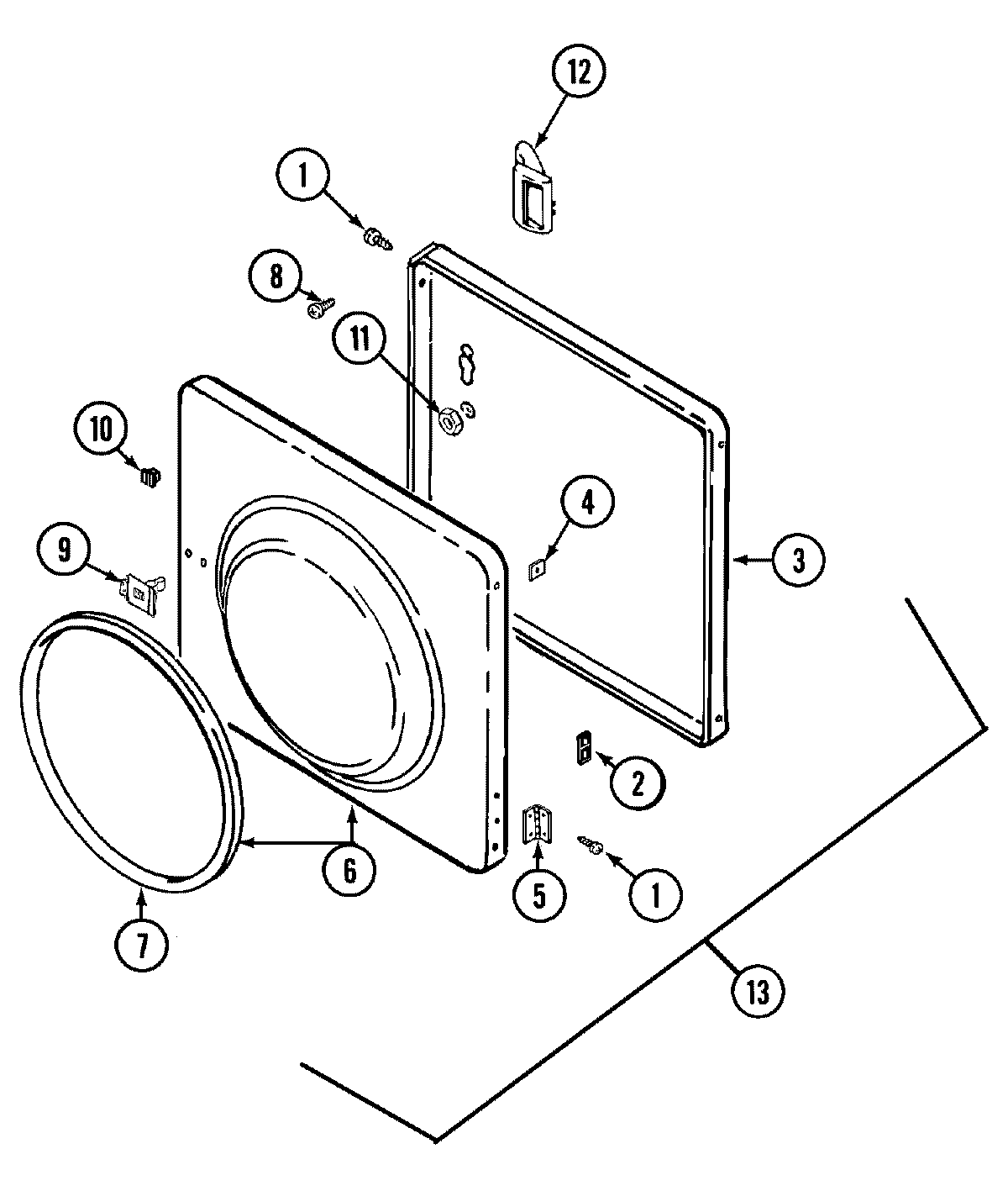
LSE7804ADE 05 – DOOR