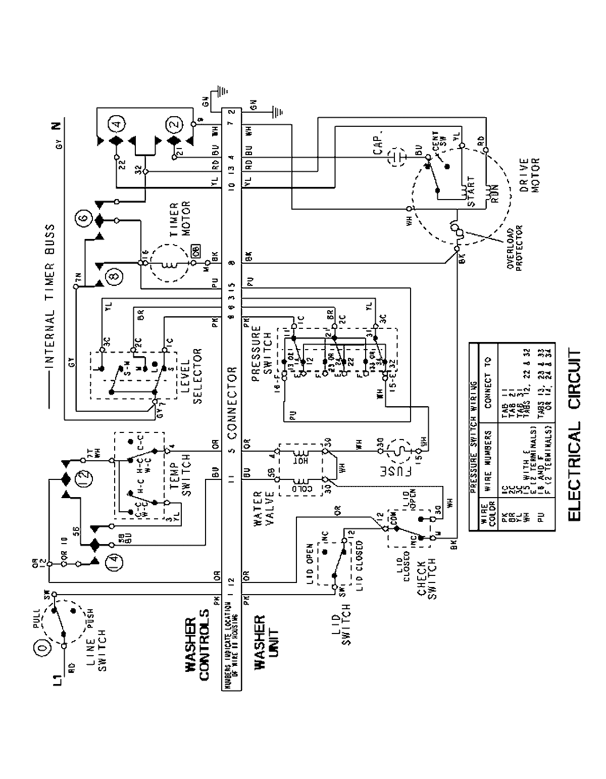
LSE7806AEE 17 – WIRING INFORMATIONadmin2025-04-26T10:28:01+00:00LSE7806AEE 17 – WIRING INFORMATION ProductsPositionProductNIMAY 15003237