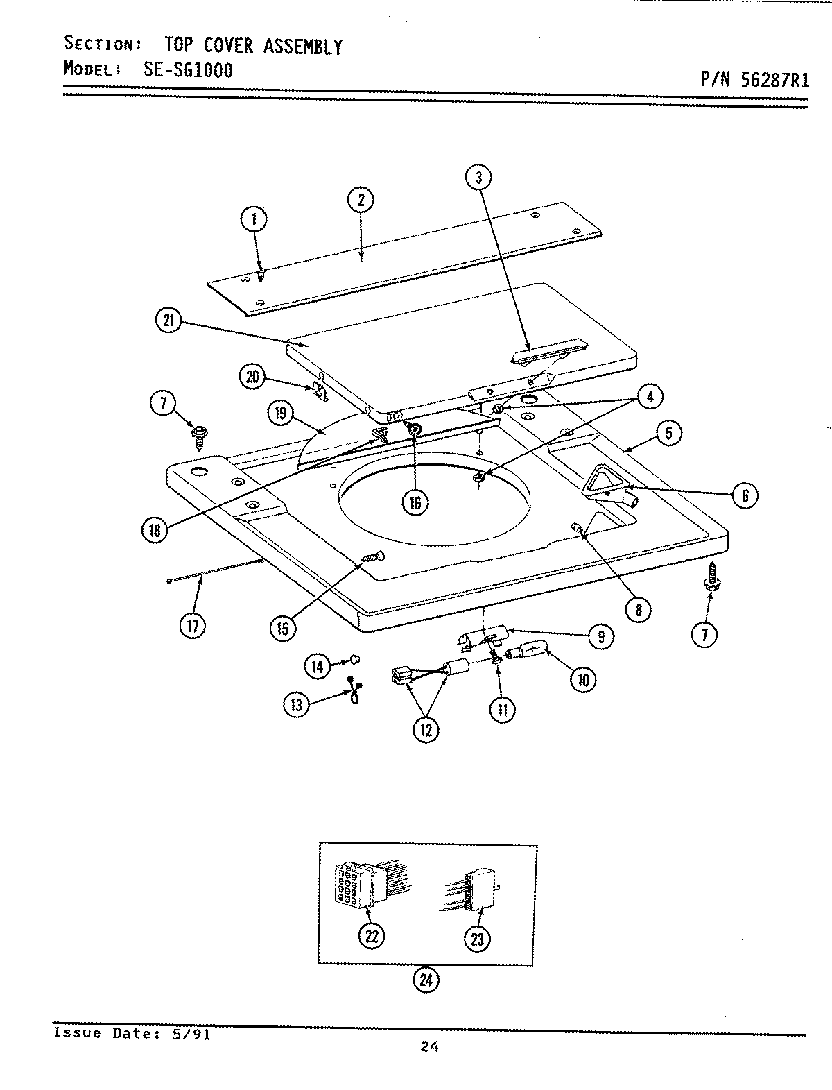
LSG1000 20 – WASHER TOP COVER ASSEMBLY