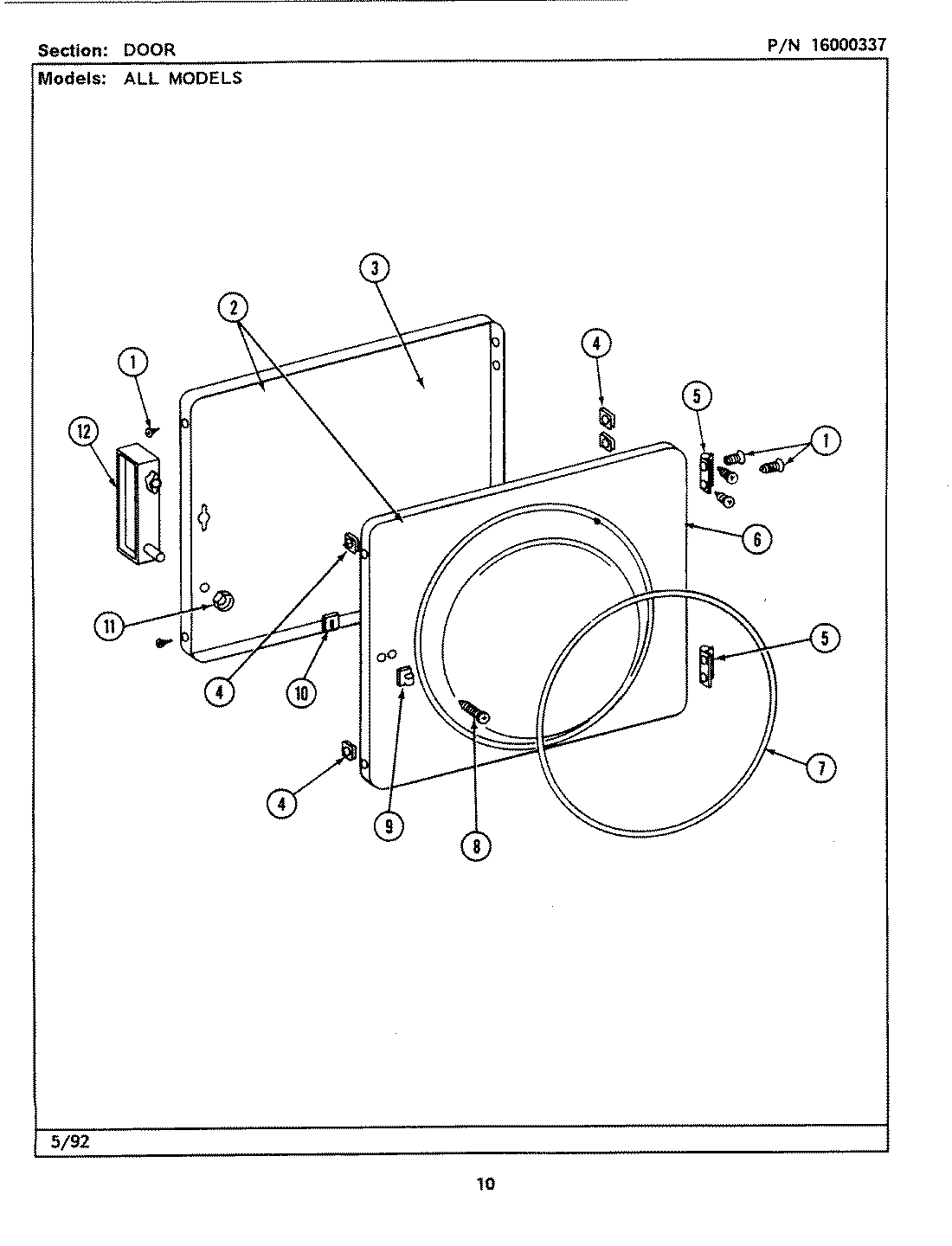
LSG7800AAW 07 – DOORadmin2025-04-26T10:27:09+00:00LSG7800AAW 07 – DOOR ProductsPositionProduct2MAY 3066693MAY 3144754CLIP, DOOR LINER5MAY Y3045776MAY 330010027MAY 3140778SCREW9306436 Whirlpool Washer Dryer Door Catch and Plastic Strike10MAY Y31391111MAY 21487212MAY 314476