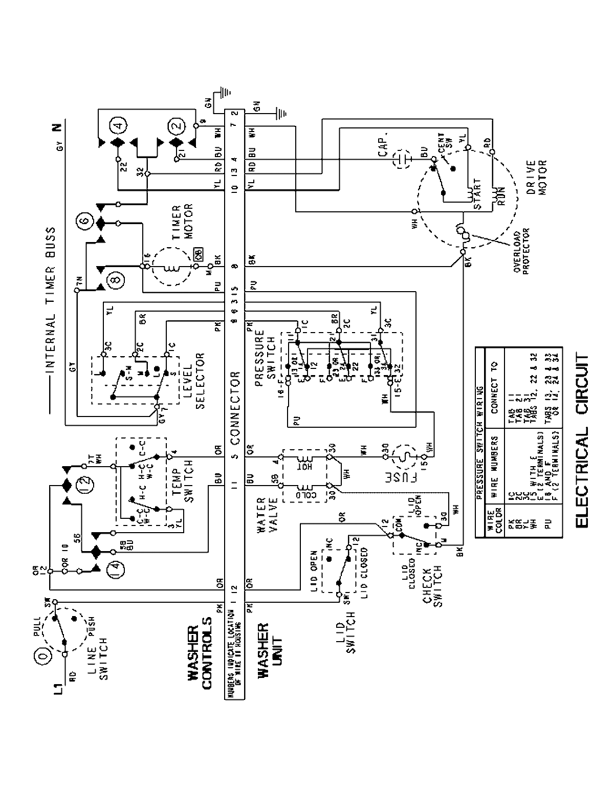
LSG7804AAM 13 – WIRING INFORMATIONadmin2025-04-26T10:27:26+00:00LSG7804AAM 13 – WIRING INFORMATION ProductsPositionProductNIMAY 15003237