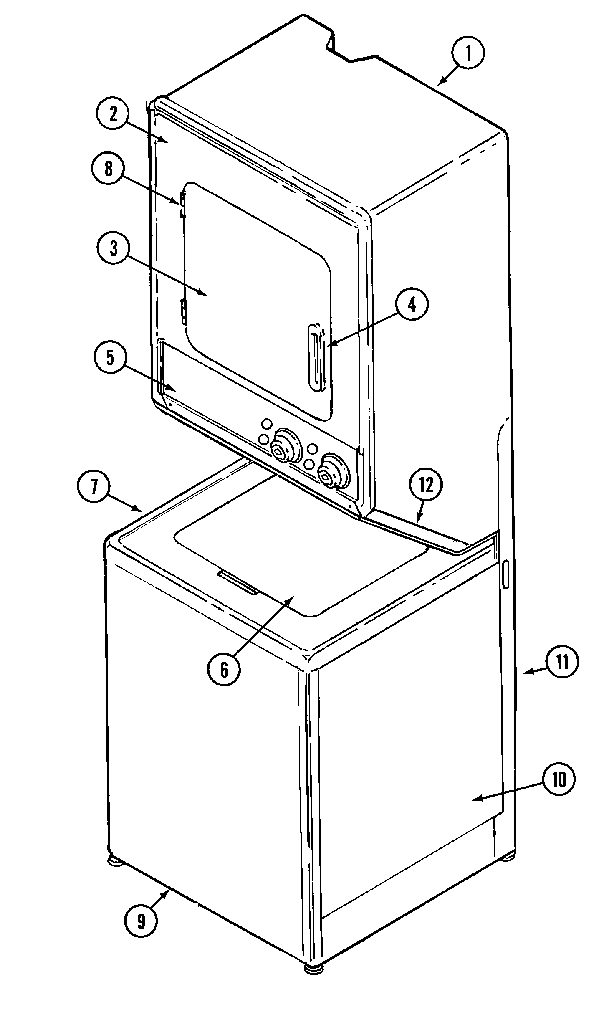
LSG7806AAE 08 – FRONT (LSG7806AAQ)