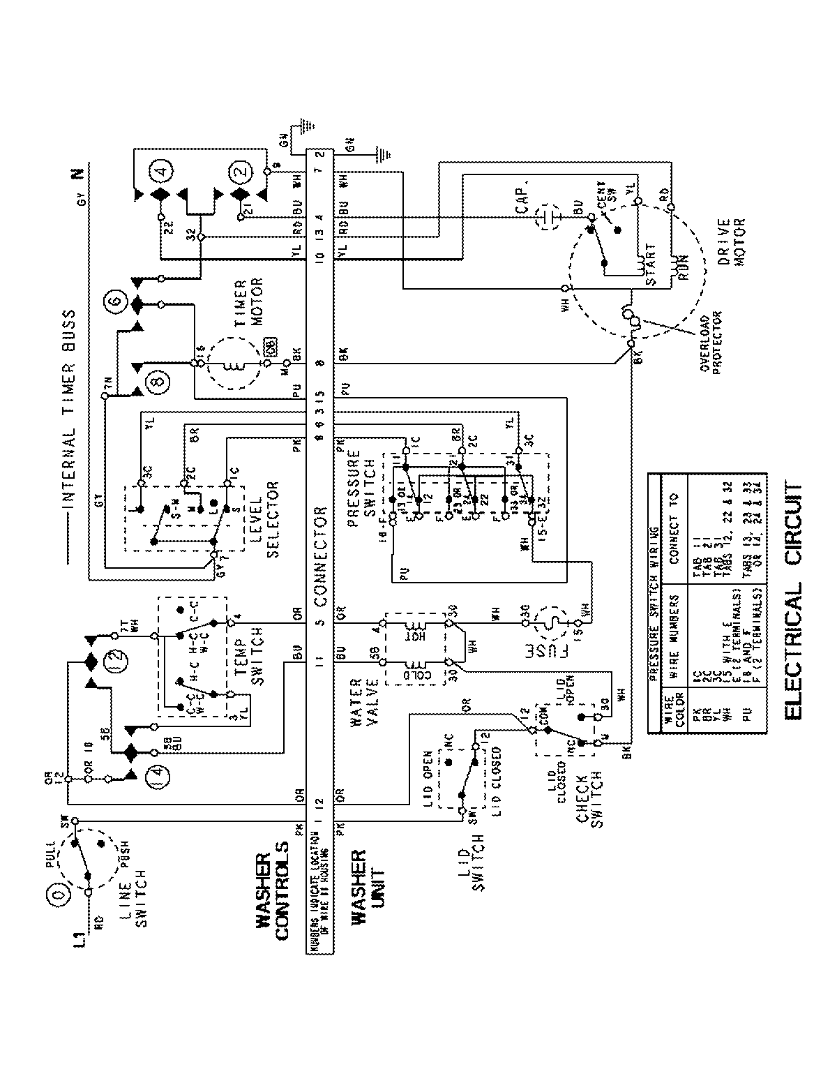
LSG7806AAE 18 – WIRING INFORMATIONadmin2025-04-26T10:28:03+00:00LSG7806AAE 18 – WIRING INFORMATION ProductsPositionProductNIMAY 15003237