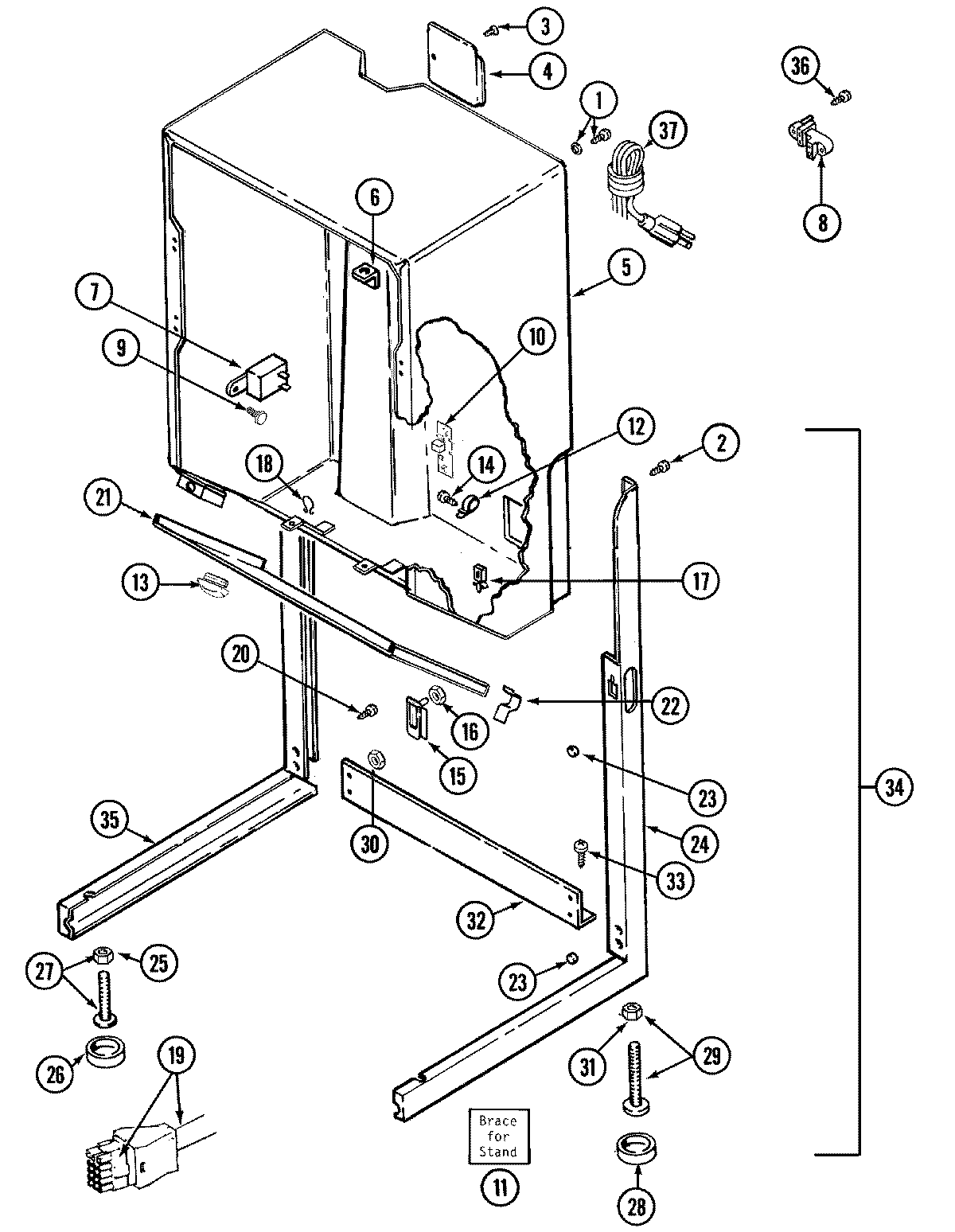
LSG7806AAM 03 – CABINET-DRYERadmin2025-04-26T10:28:58+00:00LSG7806AAM 03 – CABINET-DRYER ProductsPositionProduct1MAY 3038462MAY 3146633MAY Y3135614MAY 3144705MAY 308055L6MAY 3125487MAY Y3082058MAY 330013099WPW10139210 Whirlpool Screw10WP33001212 Whirlpool Electronic Control Board11MAY 30612812MAY 2200192913MAY 2200119514MAY Y31063215MAY 31448916MAY 21487217MAY Y31326218MAY 31547119MAY 3300155419MAY 2200194020MAY 31447721MAY 3300113021MAY 3300105122MAY 31448223MAY 31449824MAY 3300129425WP62739 Whirlpool Nut26WPY314137 Whirlpool Rubber Foot27W10176519 Whirlpool Leveling Feet28WP210684 Whirlpool Dishwasher Leveling Leg Pad29LEG, ADJUSTABLE (W/NUT)---S30Y052721 Whirlpool Nut31WP210385 Whirlpool Lock Nut32MAY 31449933MAY 21435434MAY 306110L35MAY 3300129636MAY 21595437MAY 33001308