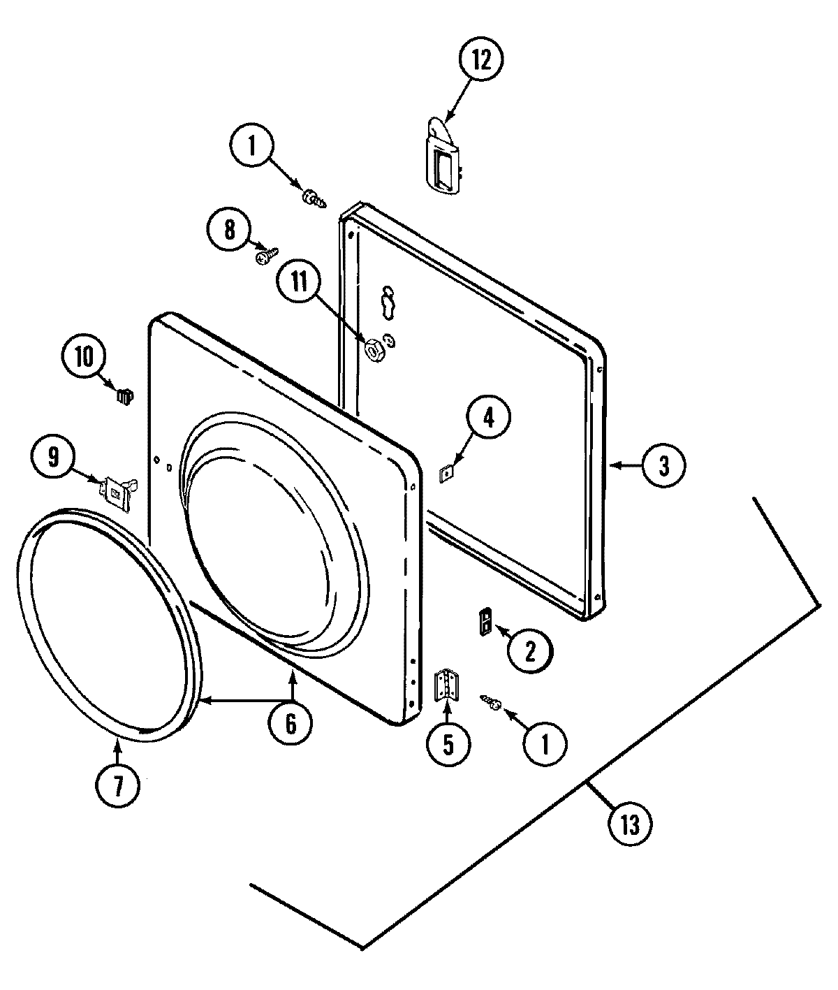
LSG7806AAM 05 – DOORadmin2025-04-26T10:29:43+00:00LSG7806AAM 05 – DOOR ProductsPositionProduct2MAY Y3139072WP22001817 Whirlpool Sheet2MAY 330012223MAY 314475L4CLIP, DOOR LINER5MAY 330012306MAY 330010027MAY 330010058SCREW9MAY Y30457810MAY Y31391111MAY 21487212MAY 3300147613MAY 33001110