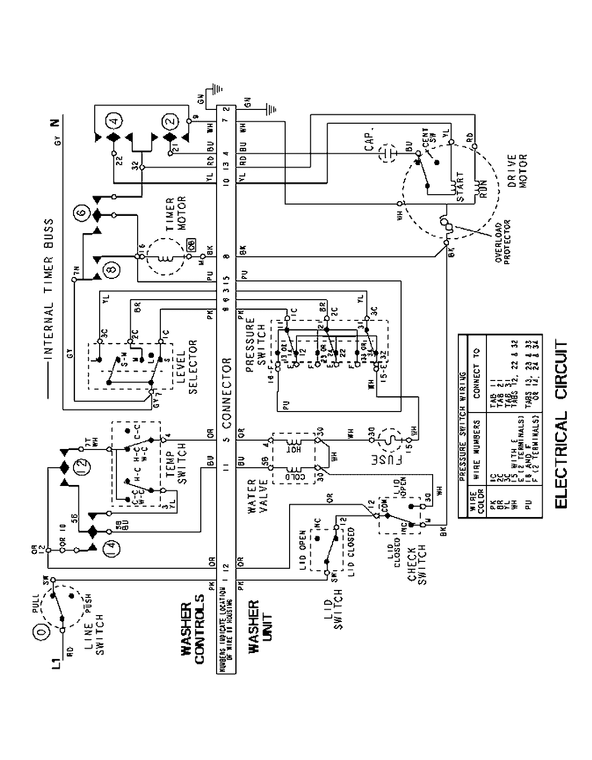
LSG7806AAM 18 – WIRING INFORMATIONadmin2025-04-26T10:28:15+00:00LSG7806AAM 18 – WIRING INFORMATION ProductsPositionProductNIMAY 15003237