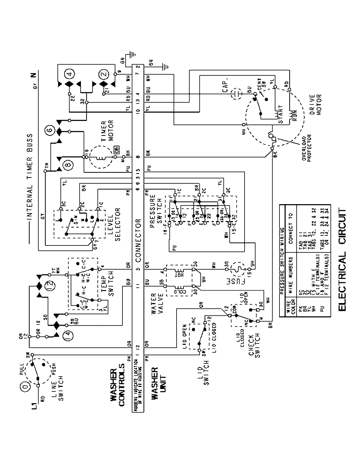
LSG7806ABE 20 – WIRING INFORMATIONadmin2025-04-26T10:30:32+00:00LSG7806ABE 20 – WIRING INFORMATION ProductsPositionProductNIMAY 15003509