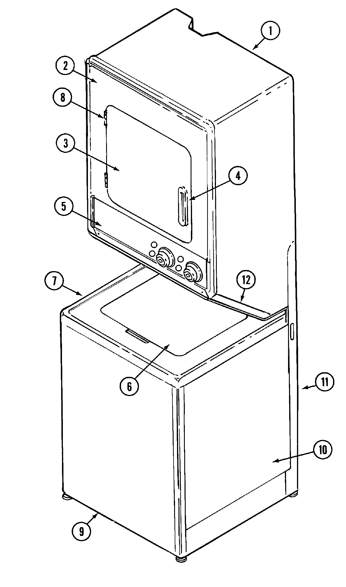
LSG7806ABM 08 – FRONT (LSG7806AAQ)
Products
| Position | Product |
|---|---|
| 1 | MAY 22002669 |
| 2 | MAY 22002672 |
| 3 | MAY 22002670 |
| 5 | MAY 33002348 |
| 6 | MAY 22002652 |
| 7 | MAY 22002646 |
| 8 | MAY 33001230 |
| 9 | MAY 22002651 |
| 10 | MAY 22002648 |
| 12 | MAY 22002671 |
| 13 | MAY 2206689 |
| 13 | MAY 22001928 |
| 13 | MAY 16000327 |