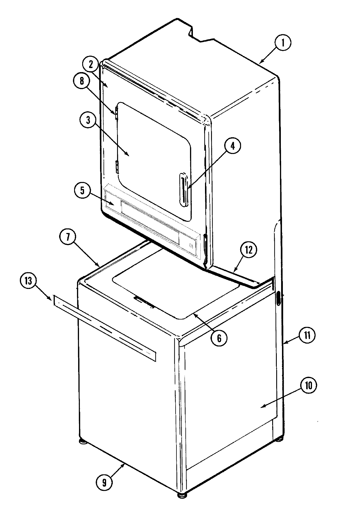
LSG9904AAE 07 – FRONT