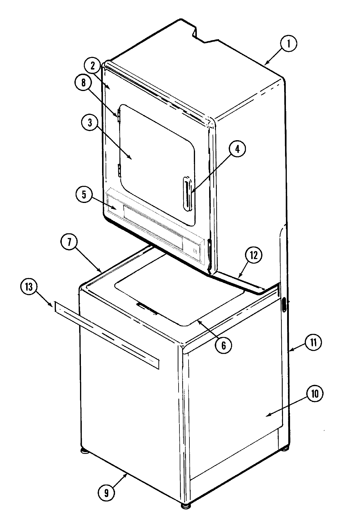
LSG9904AAM 07 – FRONT (LSG9904AAM)