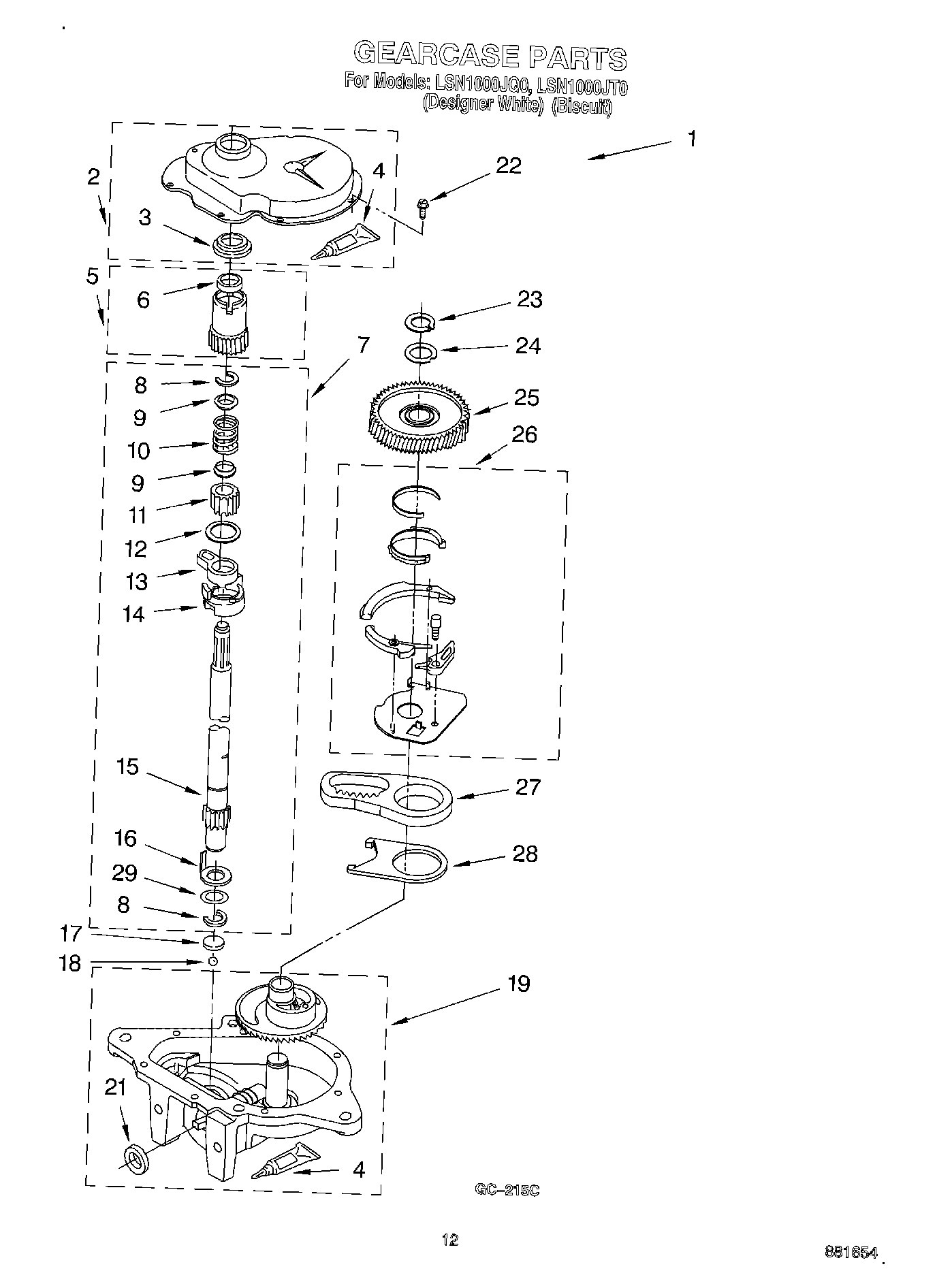
LSN1000JT0 08 – GEARCASE