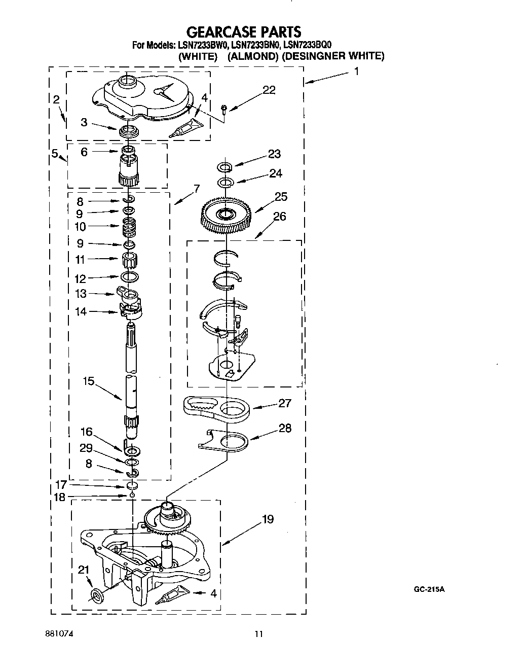
LSN7233BW0 09 – GEARCASE