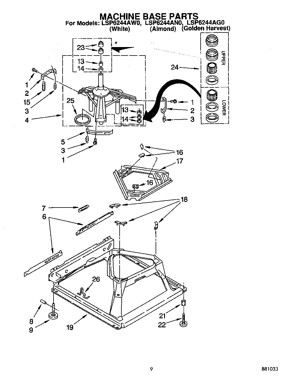
LSP6244AG0 07 – MACHINE BASE