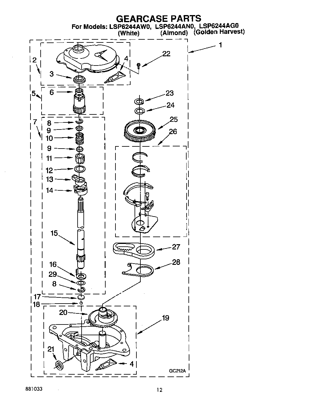
LSP6244AG0 10 – GEARCASE