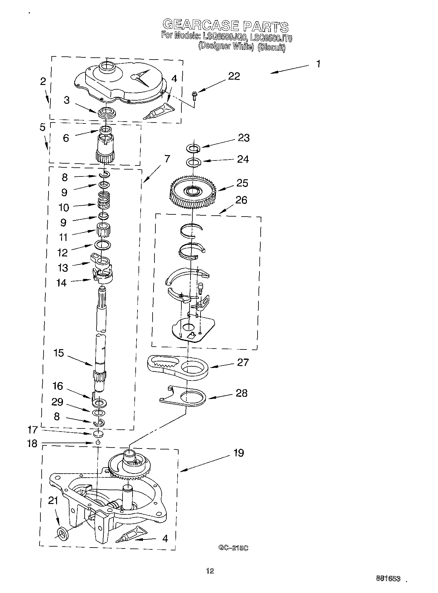
LSQ8500JQ0 08 – GEARCASE