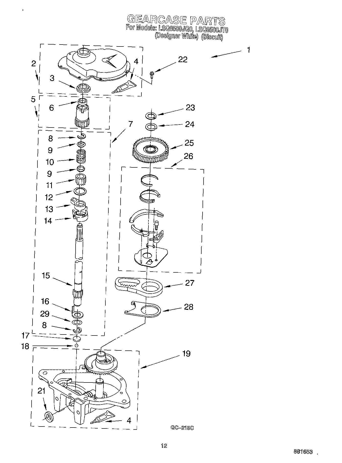
LSQ8500JT0 08 – GEARCASE