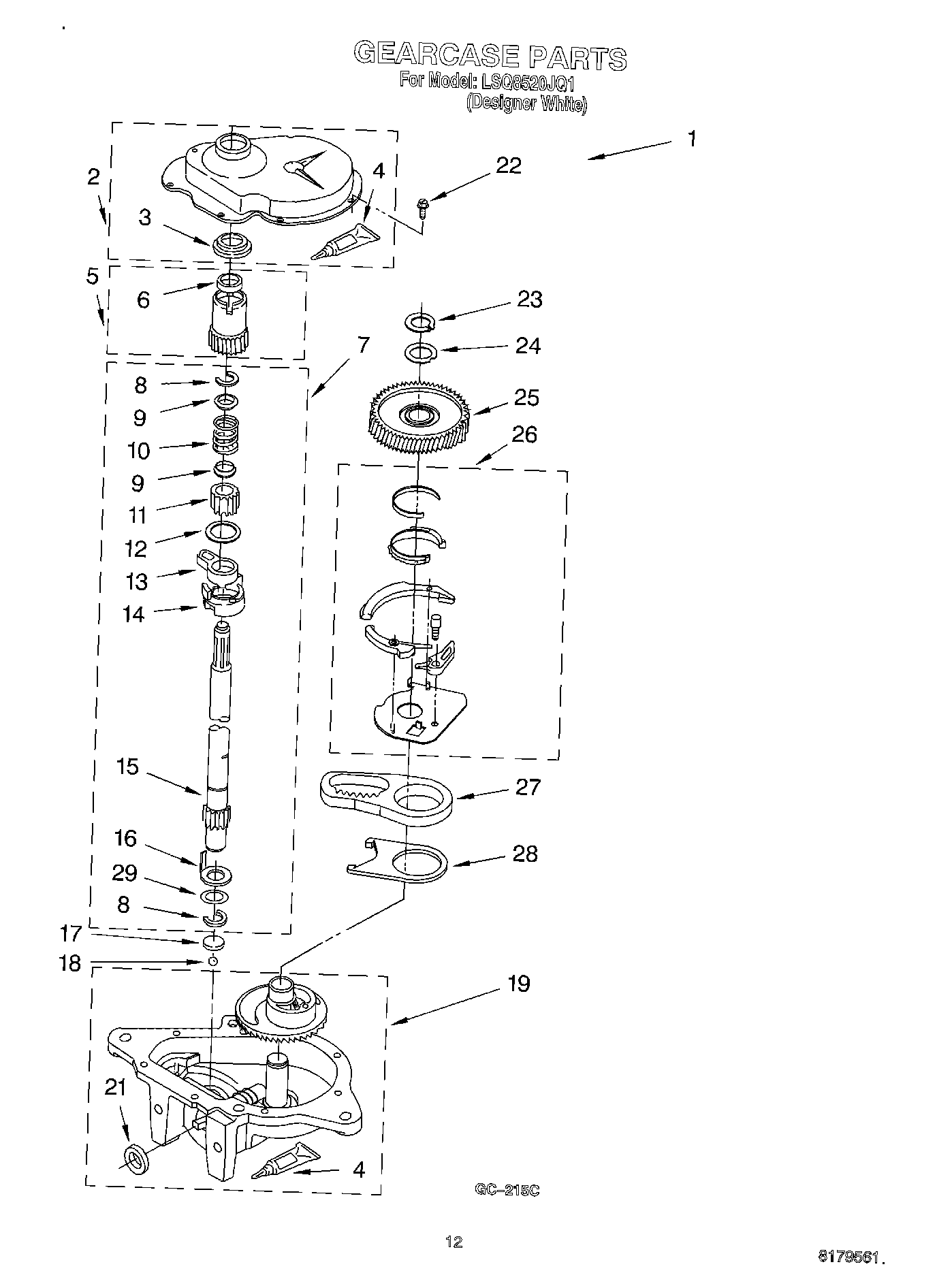
LSQ8520JQ1 08 – GEARCASE