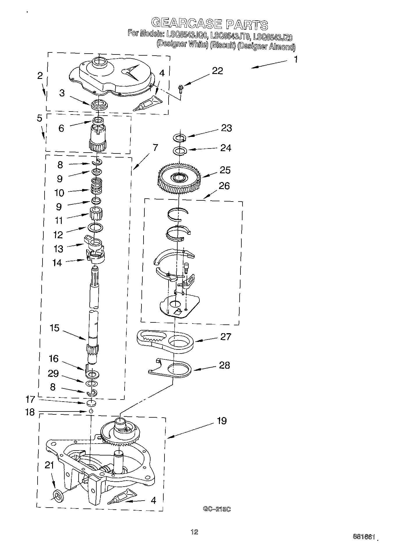
LSQ8543JT0 08 – GEARCASE