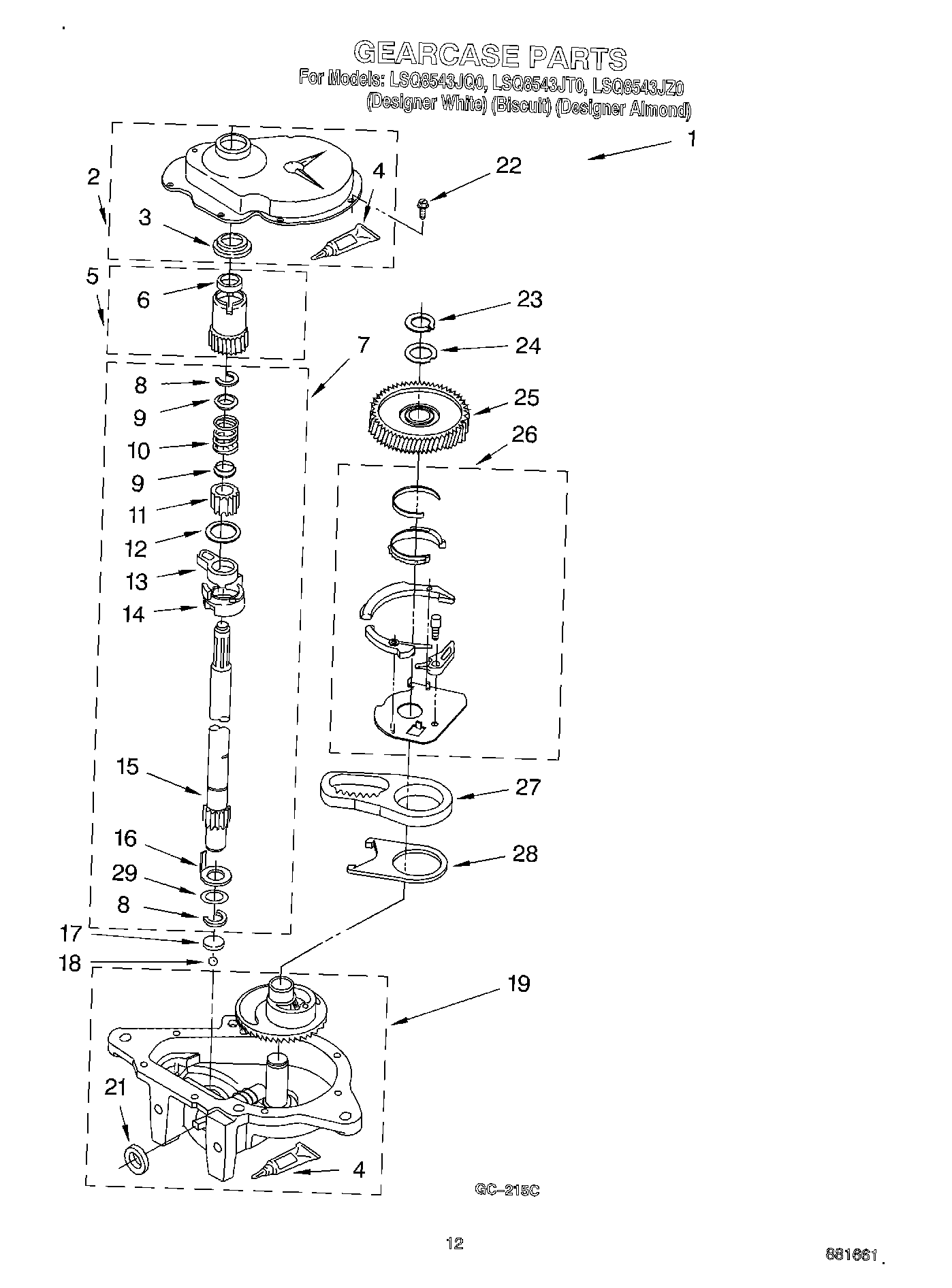
LSQ8543JZ0 08 – GEARCASE