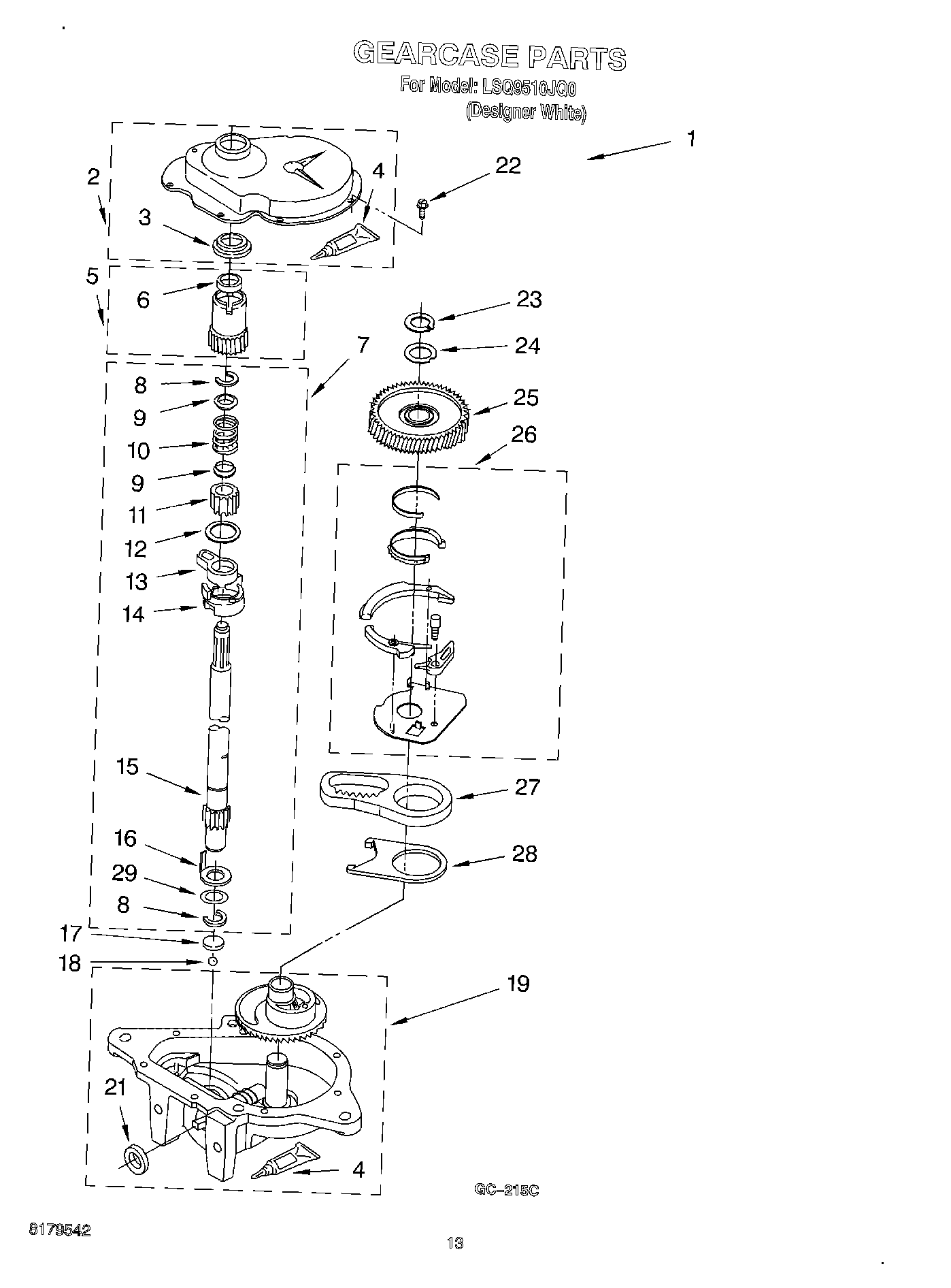
LSQ9510JQ0 09 – GEARCASE