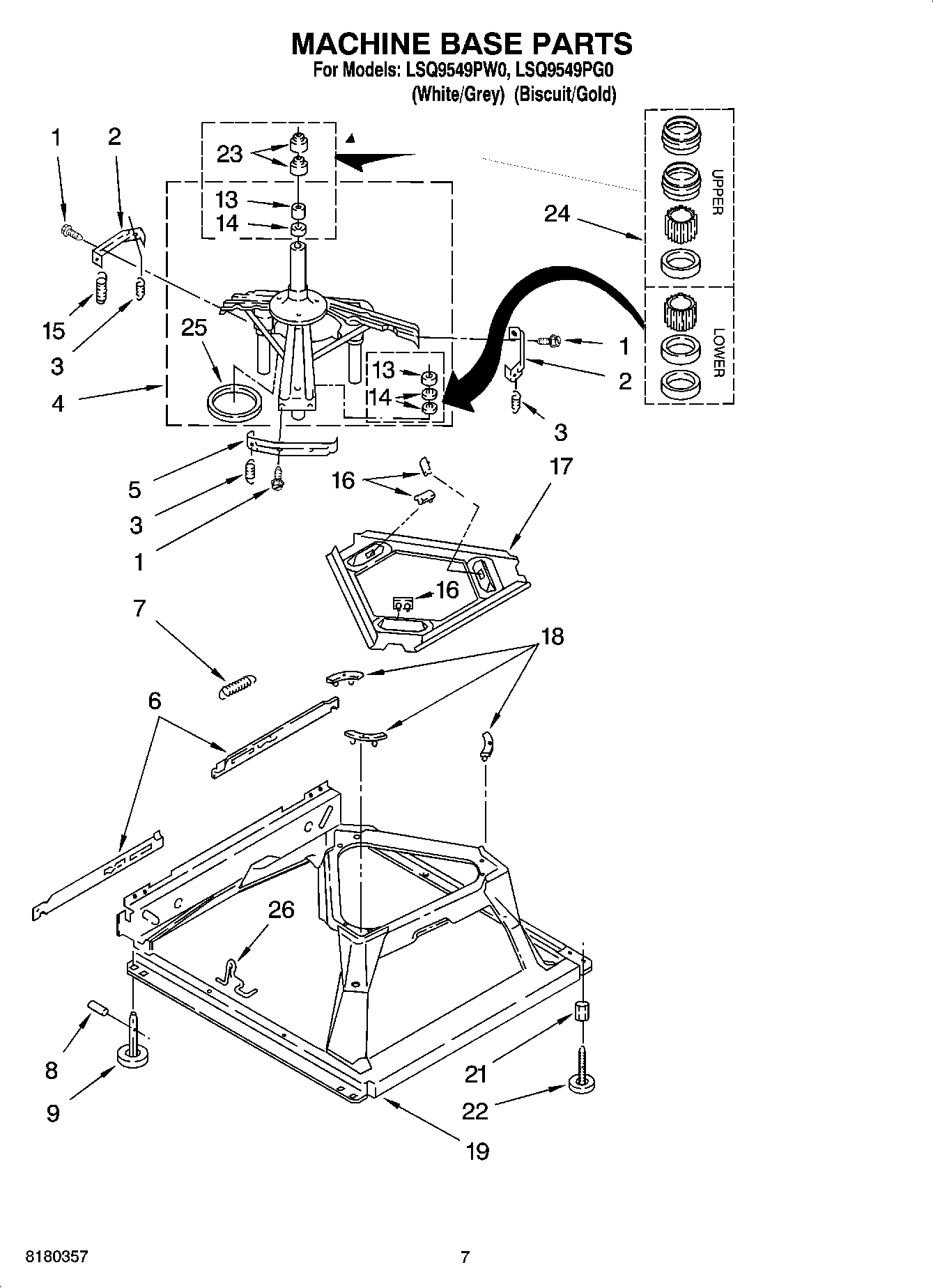
LSQ9549PW0 04 – MACHINE BASE PARTS