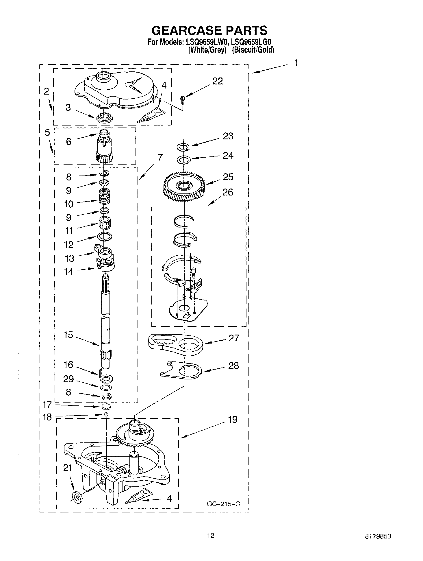
LSQ9659LG0 08 – GEARCASE