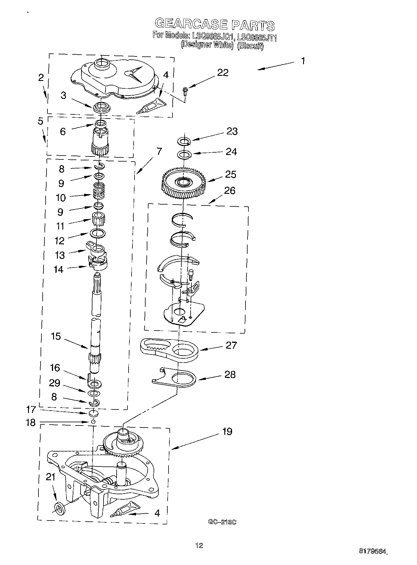
LSQ9665JQ1 08 – GEARCASE