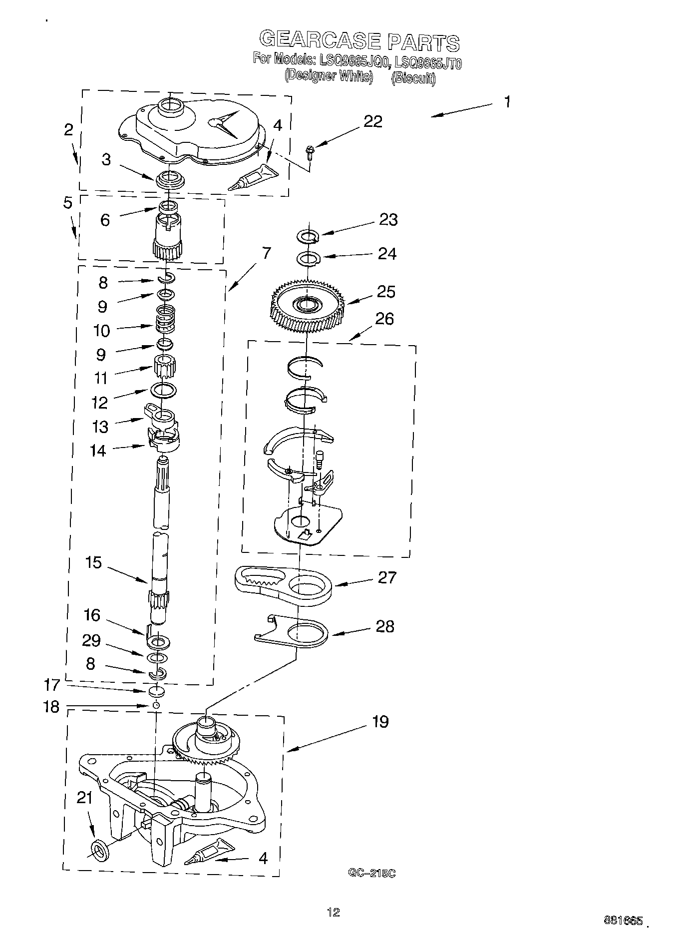
LSQ9665JT0 08 – GEARCASE