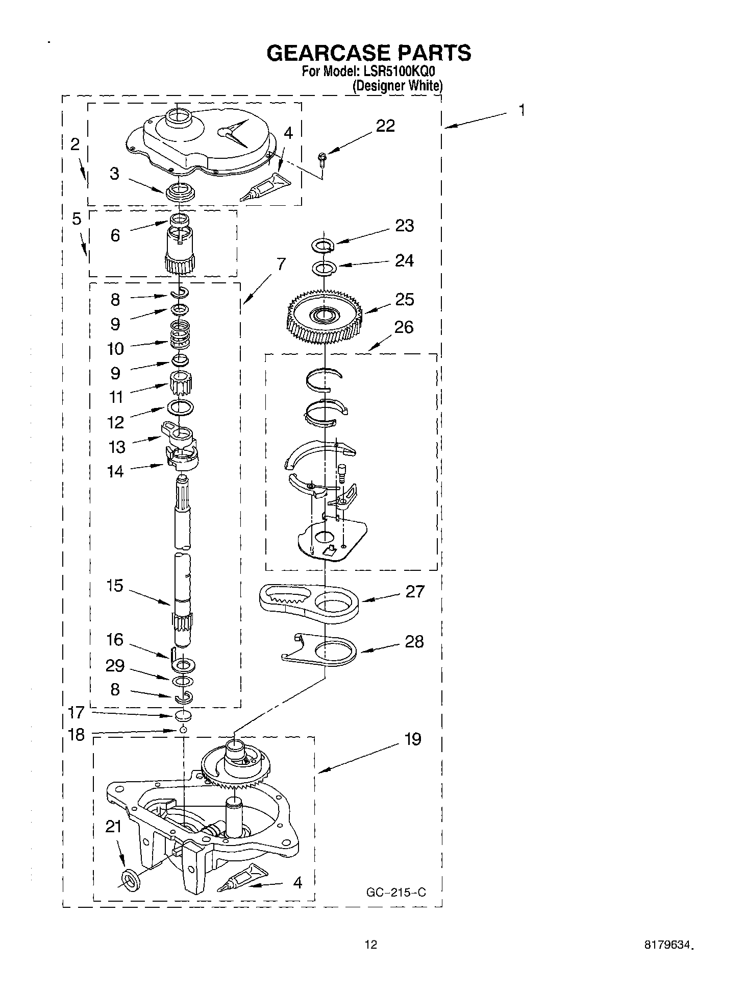
LSR5100KQ0 08 – GEARCASE