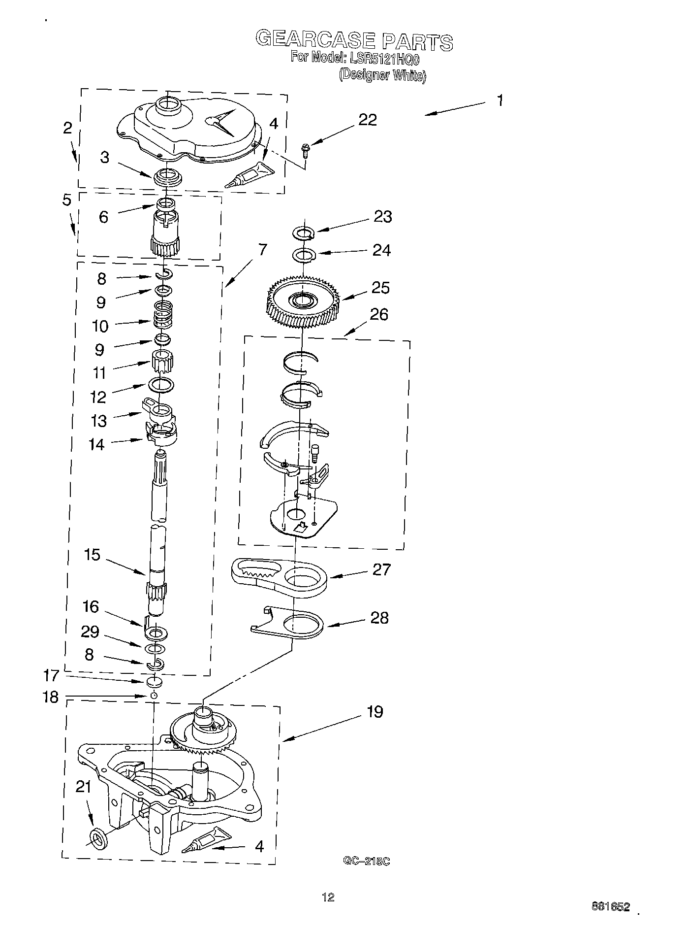
LSR5121HQ0 08 – GEARCASE