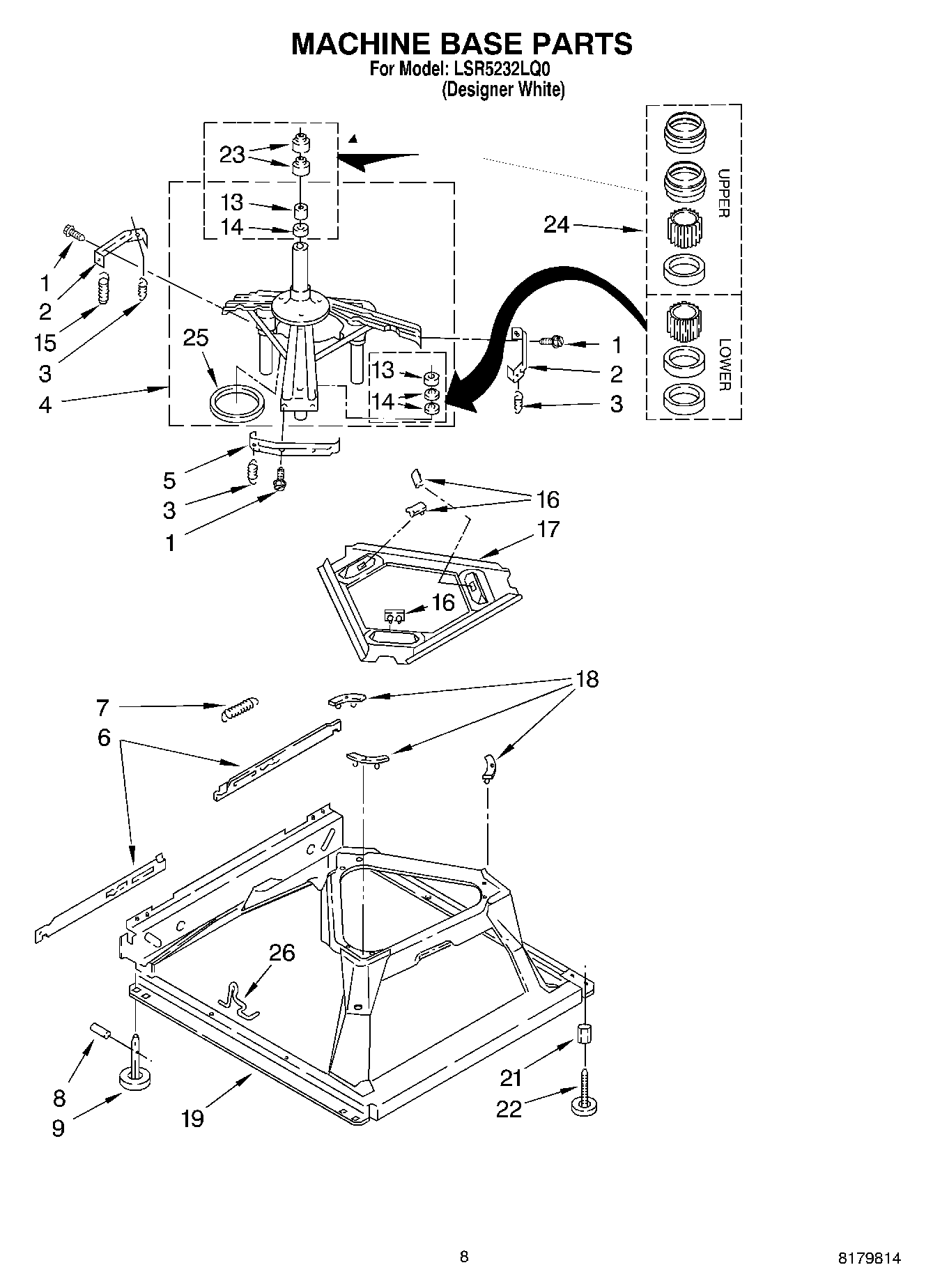
LSR5232LQ0 05 – MACHINE BASE