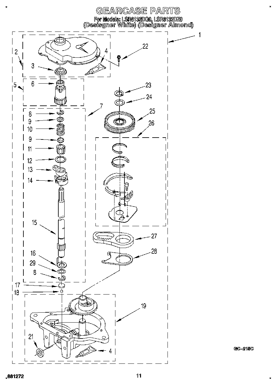
LSR6132DQ0 09 – GEARCASE