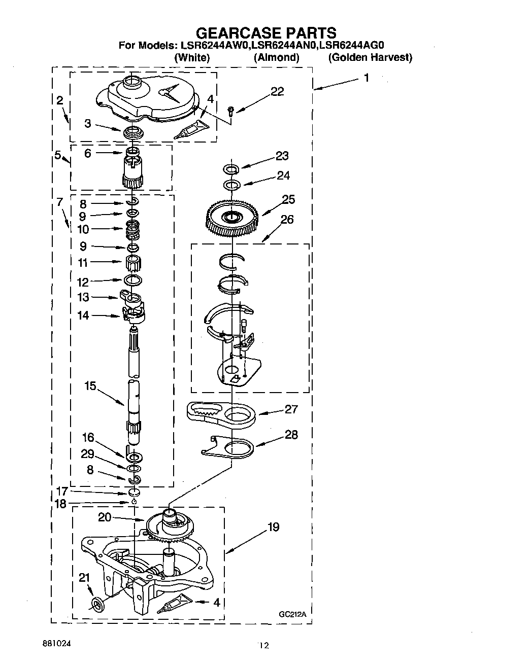
LSR6244AN0 10 – GEARCASE