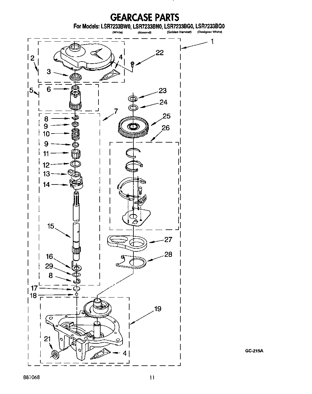
LSR7233BQ0 09 – GEARCASE