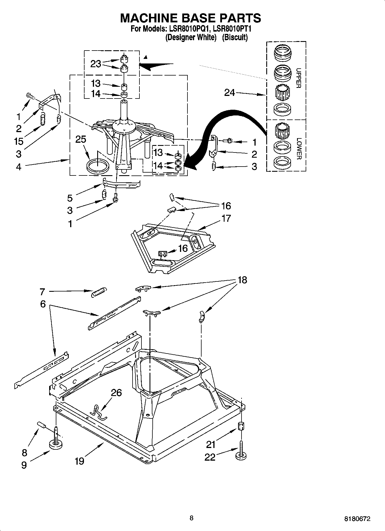
LSR8010PQ1 05 – MACHINE BASE PARTS