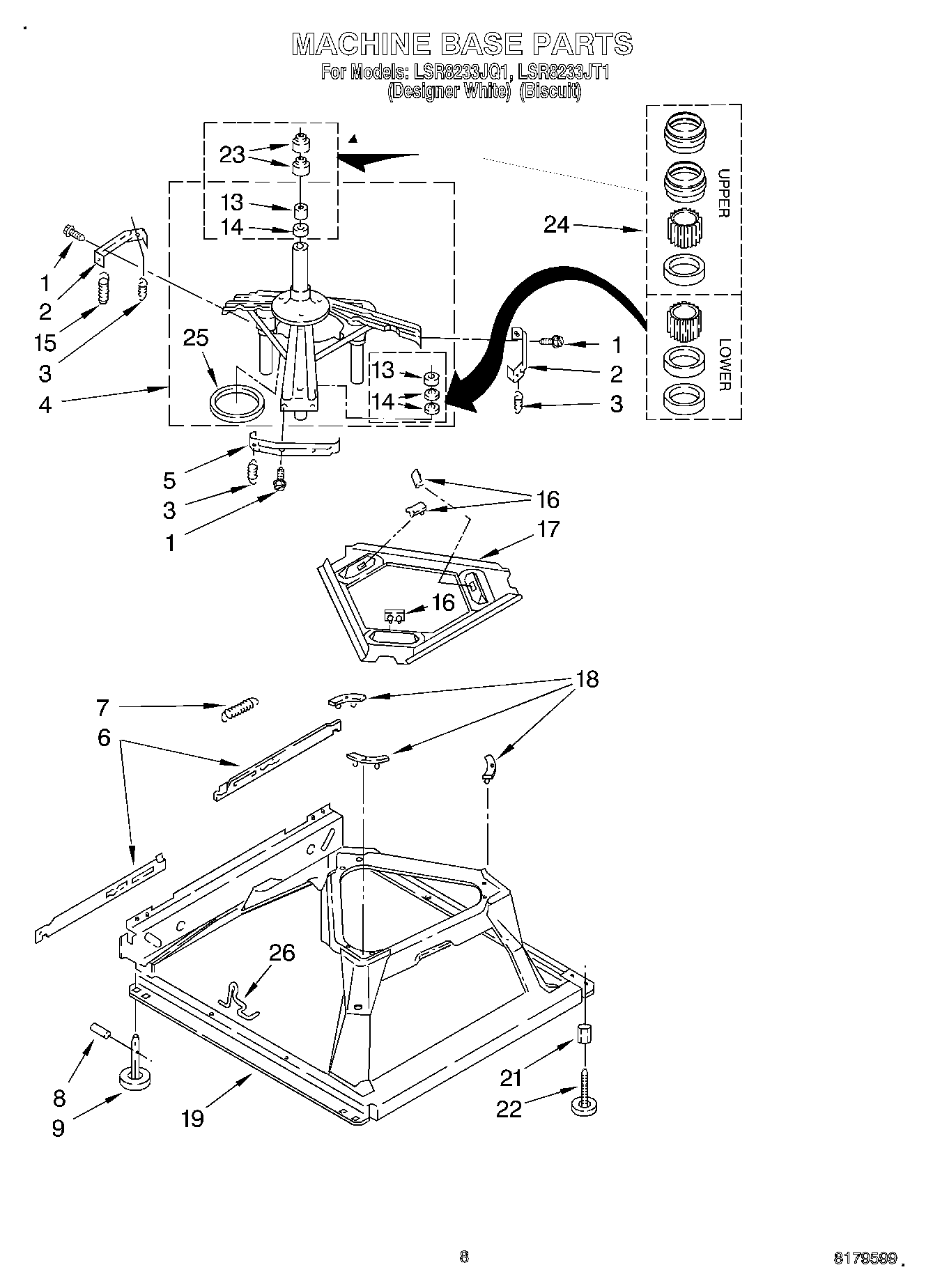
LSR8233JQ1 05 – MACHINE BASE