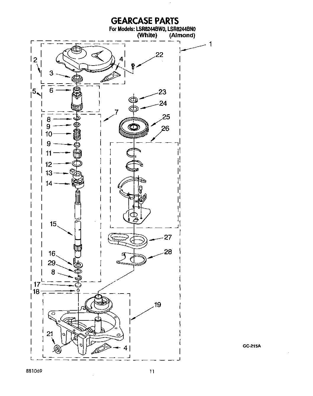
LSR8244BN0 09 – GEARCASE