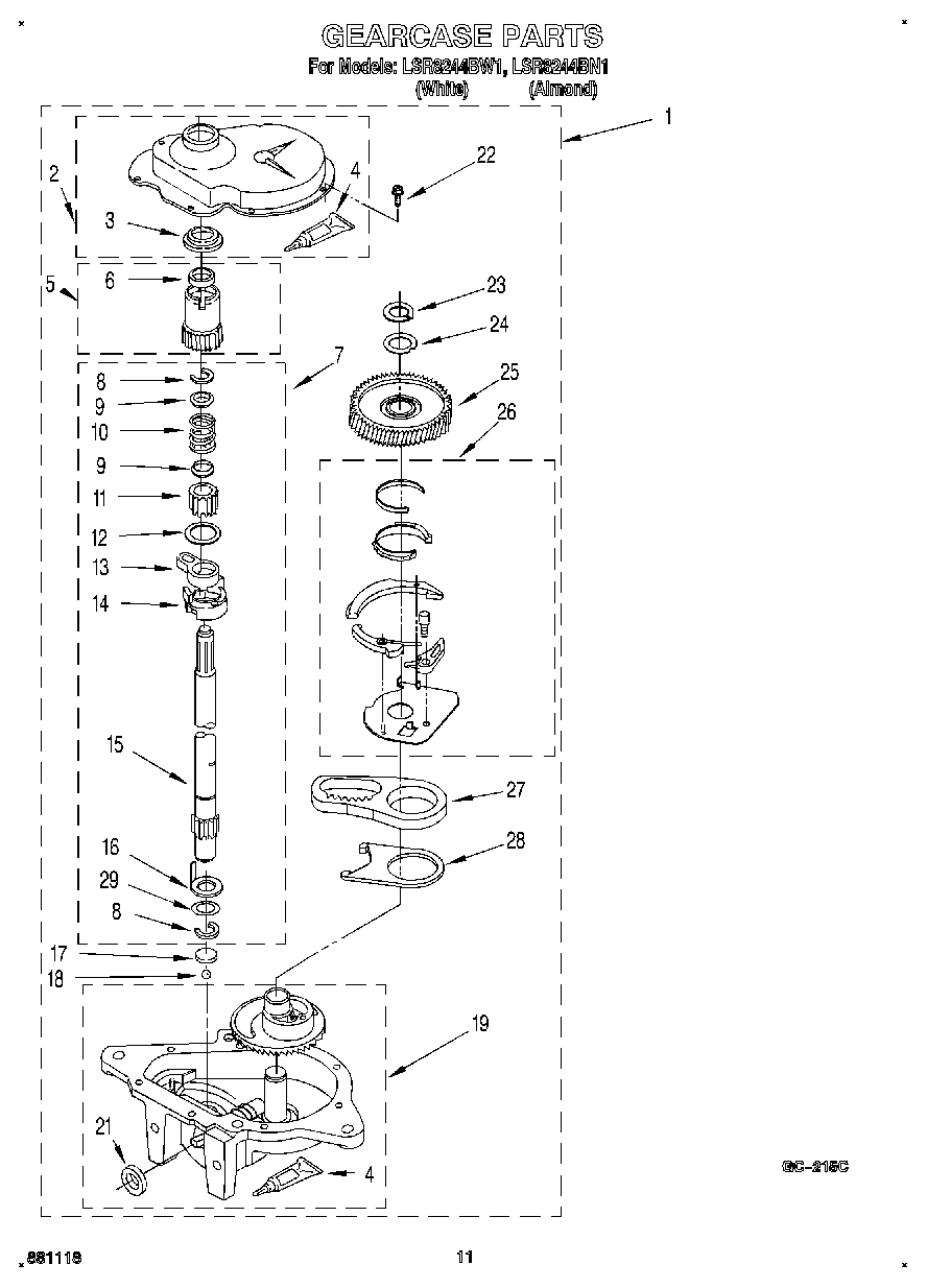
LSR8244BN1 09 – GEARCASE