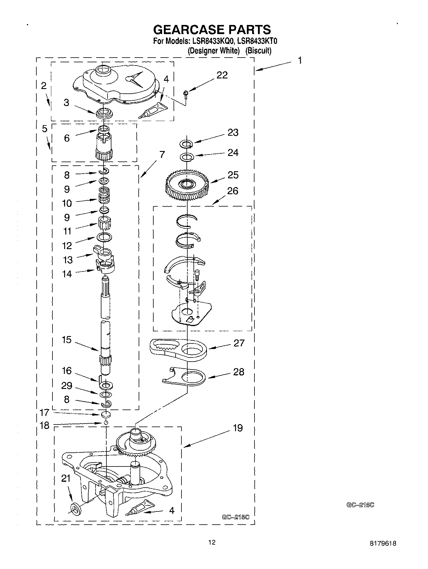
LSR8433KQ0 08 – GEARCASE