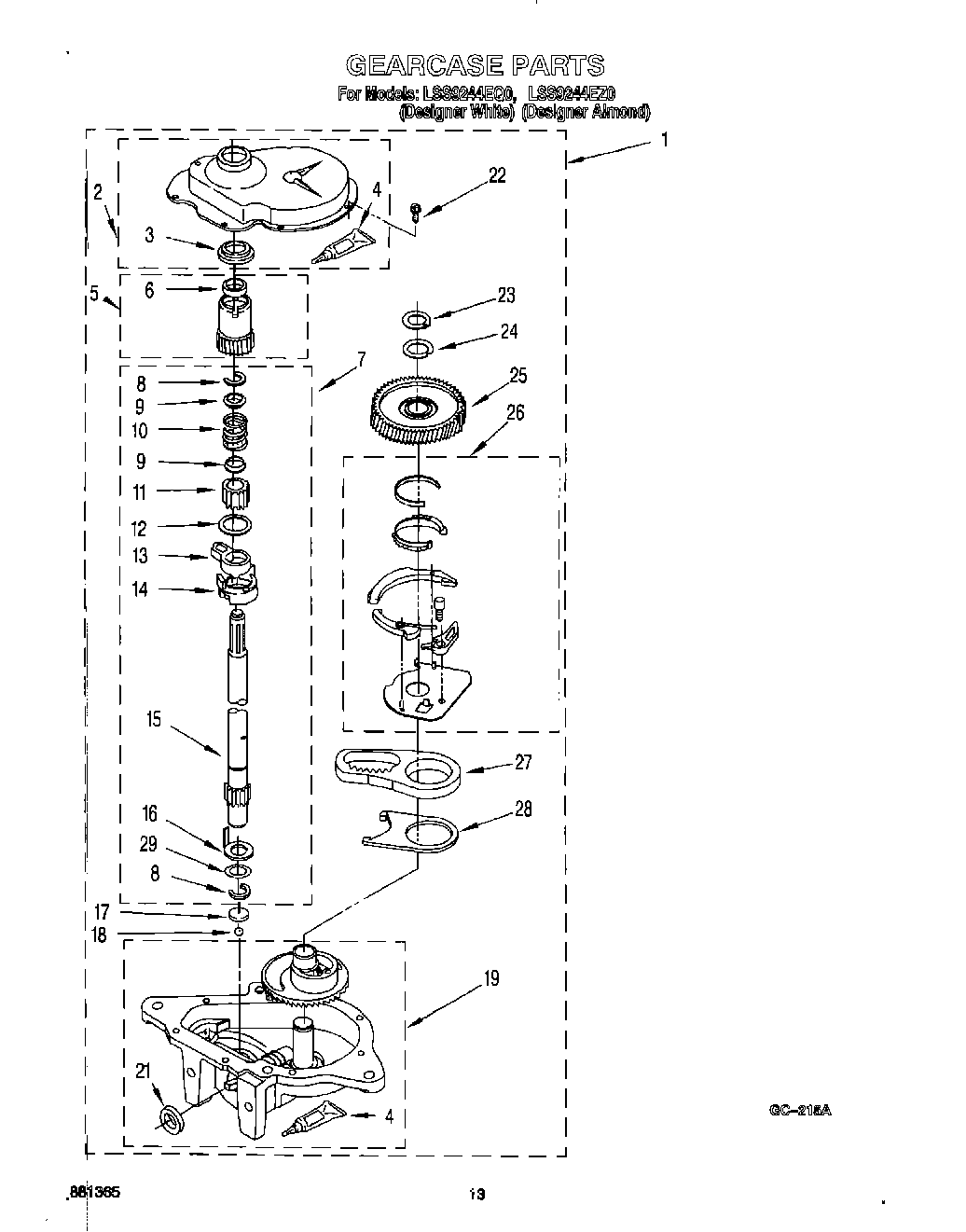
LSS9244EZ0 09 – GEARCASE