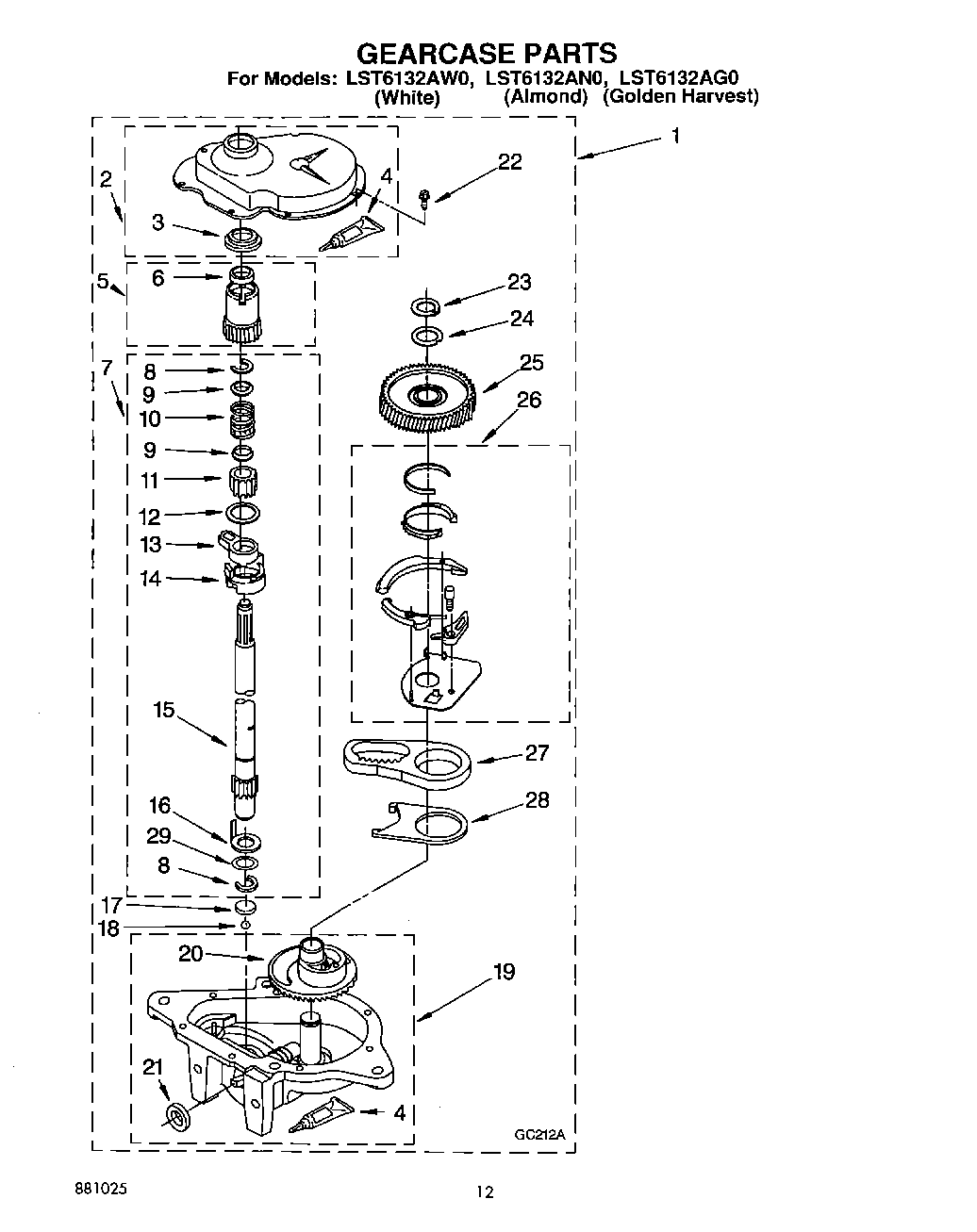
LST6132AW0 10 – GEARCASE