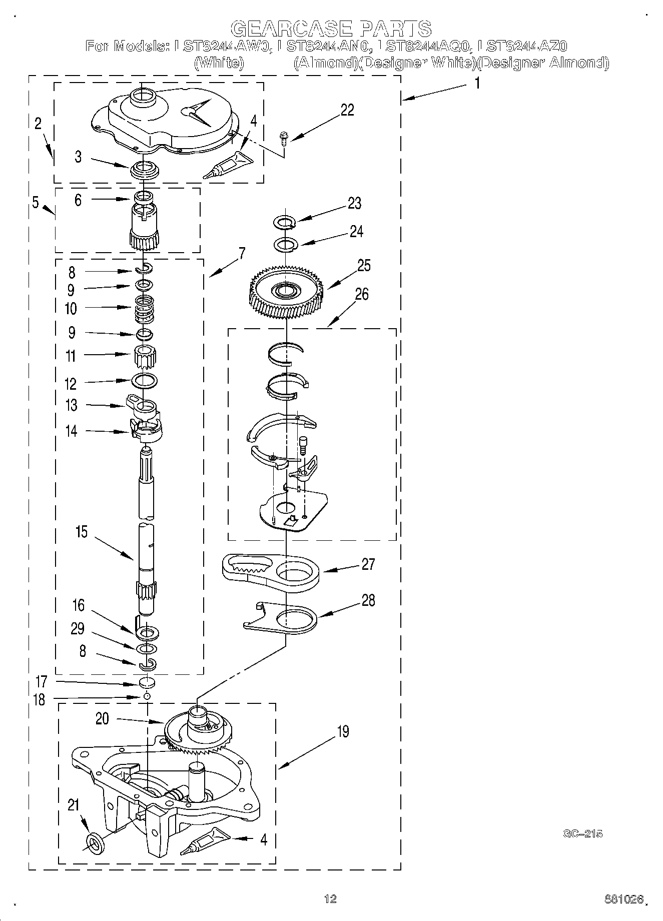
LST8244AW0 10 – GEARCASE