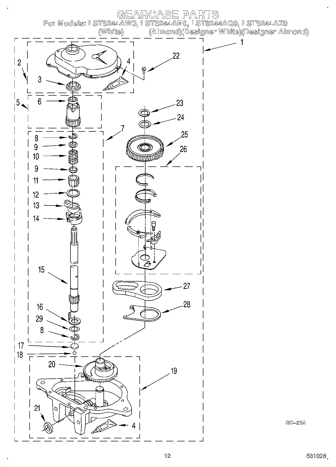
LST8244AZ0 10 – GEARCASE