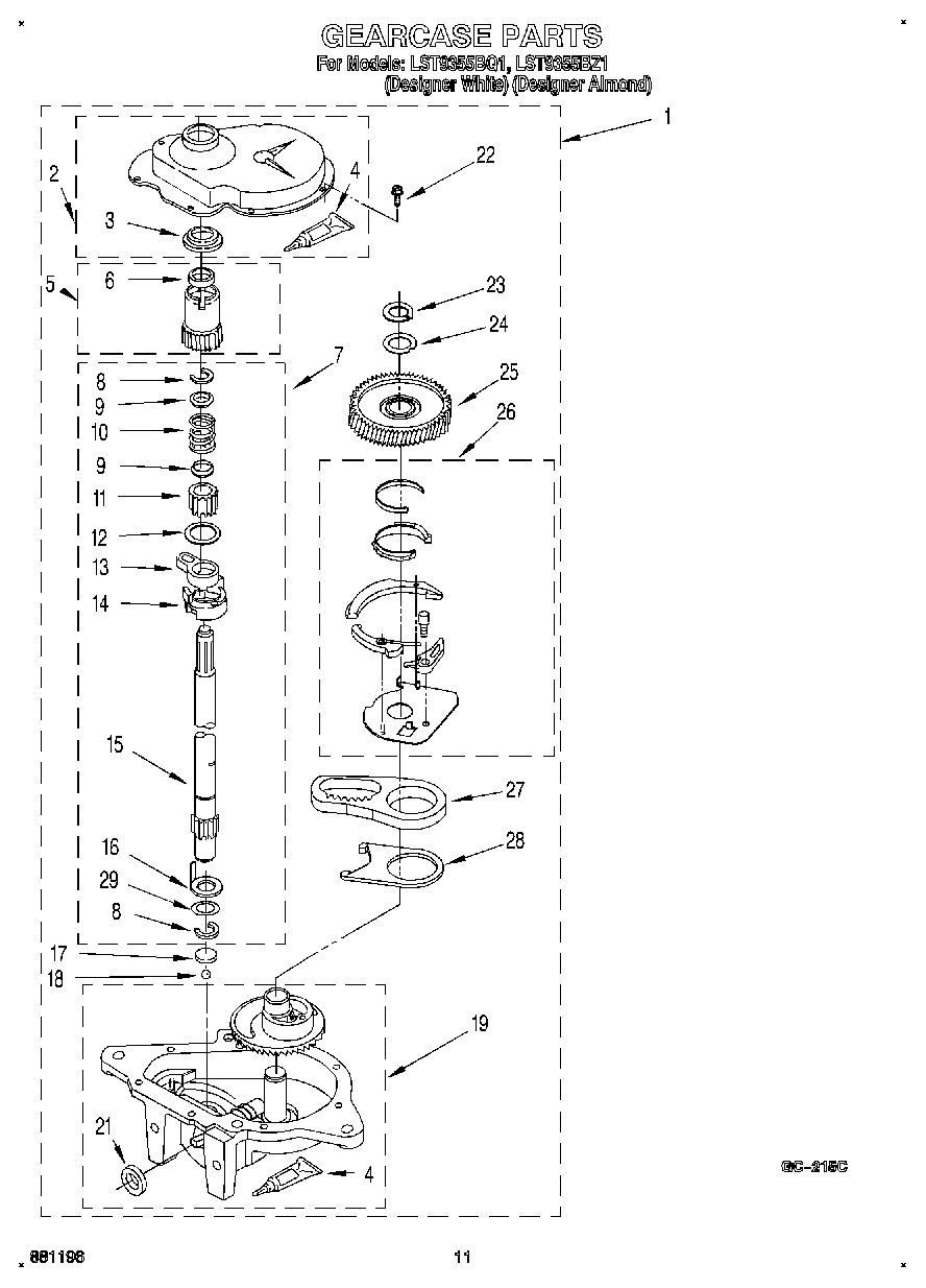
LST9355BQ1 09 – GEARCASE