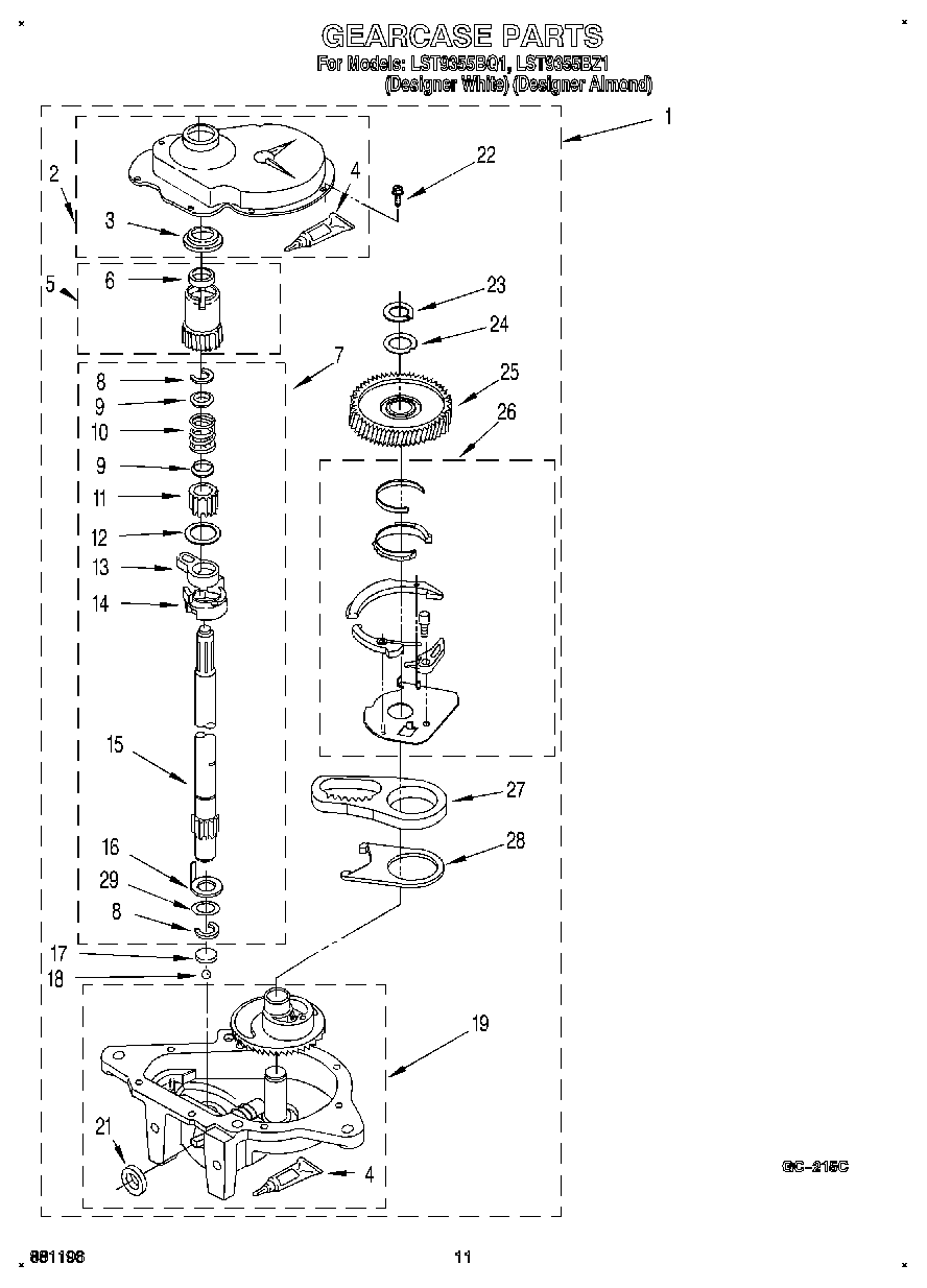
LST9355BZ1 09 – GEARCASE