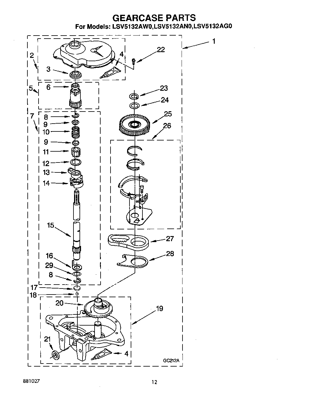
LSV5132AG0 09 – GEARCASE