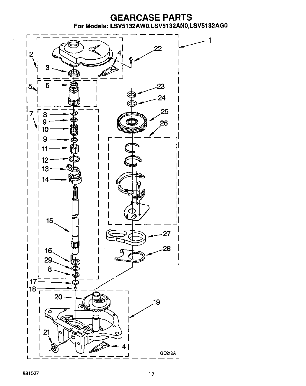
LSV5132AN0 09 – GEARCASE